鄂尔多斯市公共资源交易网
公共服务平台 电子交易平台 行政监督平台
无障碍 | 长者浏览模式 | 返回联盟首页 | 共产党员网
天气:
老版网站入口
您现在的位置:首页 >> 政府采购 >> 合同公告
 
鄂尔多斯市中心血站鄂尔多斯市中心血站新能源车辆12月用电政府采购合同公告


【信息时间: 2026/1/22   阅读次数: 【我要打印】【关闭】
【该公告信息由“内蒙古自治区政府采购网”自动推送至本网站,联系电话:400-0471-010】

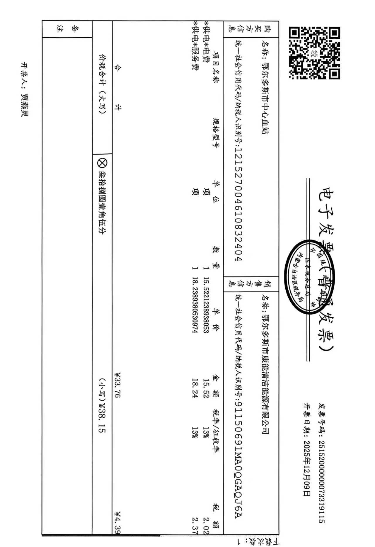
一、合同编号:EEDSSZXXZZFCGHT(2026)00123-009

二、合同名称:鄂尔多斯市中心血站新能源车辆12月用电

三、项目编号:鄂财购备字(电子)[2026]00123号

四、项目名称:鄂尔多斯市中心血站车辆2025年12月用油用电

五、合同主体

采购人(甲方):鄂尔多斯市中心血站

地址:康巴什区公共卫生大厦

联系方式:04773896709

供应商(乙方):鄂尔多斯市康能清洁能源有限公司

地址:内蒙古自治区鄂尔多斯市东胜区鄂尔多斯市康巴什区滨河街道

联系方式:15047731897

六、合同主要信息

主要标的:

序号 名称 数量(单位) 单价(元) 总价(元) 规格型号/服务要求
1 鄂尔多斯市中心血站新能源车辆12月用电 1(批) ¥1,350.06 ¥1,350.06 根据实际用电填报 蒙KF73281 362.87元(11.25-12.25) 蒙KFA7281 40.78元(11.28-12.21) 蒙KDA1969 946.41(12.1-12.31)

合同金额: 1,350.06元,大写(人民币):壹仟叁佰伍拾元零陆分

履约期限:2026年01月20日至2026年01月27日

履约地点:康巴什

采购方式:

七、合同签订日期

2026年01月20日

八、合同公告日期

2026年01月22日

九、其他补充事宜

合同附件:

.1.13..jpg

.12.24..jpg

1.7.jpg

1.8.jpg

1.13.jpg

12.1.jpg

12.2.jpg

12.3.jpg

12.4.jpg

12.7..jpg

12.7.jpg

12.8.jpg

12.9.jpg

12.16..jpg

12.16.jpg

12.18霍虎.jpg

12.22..jpg

12.22.jpg

12.23.jpg

12.24..jpg

12.24.jpg

12.29..jpg

12.29.jpg

12.30.jpg

鄂尔多斯市中心血站

2026年01月22日

  
附件:
.1.13..jpg
.12.24..jpg
1.7.jpg
1.8.jpg
1.13.jpg
12.1.jpg
12.2.jpg
12.3.jpg
12.4.jpg
12.7..jpg
12.7.jpg
12.8.jpg
12.9.jpg
12.16..jpg
12.16.jpg
12.18霍虎.jpg
12.22..jpg
12.22.jpg
12.23.jpg
12.24..jpg
12.24.jpg
12.29..jpg
12.29.jpg
12.30.jpg
 
鄂尔多斯公共资源交易网